Поршневые пальцы SENS/Chance 1.3
Номер по каталогу 245.1004020
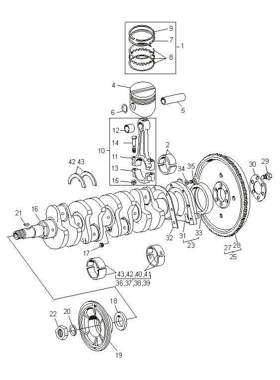
Описание
Цена за комплект: 4 шт.
Номер на рисунке - 5.
Каталожное название "Палец поршневой".
Цвет:
- Красный, размер 19,988-19,992 мм;
- Жёлтый, размер 19,992-19,996 мм;
- Зелёный, размер 19,996-20,000 мм.
Подходит для моделей:
- ZAZ Sens седан 1.3;
- ZAZ Chance седан 1.3 S;
- ZAZ Chance седан 1.3 SE;
- ZAZ Chance седан 1.3 SX;;
- ZAZ Chance хэтчбэк 1.3 S;
- ZAZ Chance хэтчбэк 1.3 SE;
- ZAZ Chance хэтчбэк 1.3 SX.
Также для автомобилей Таврия,/Славута и Дана.
Внимание: Пальцы всех цветов подходят на любой поршень (на "холодную"). Пальцы вращаются во втулке шатуна, а не в поршне.
Необходимо подбирать под шатун!!!











